邵武刺桐红村镇银行因案外人执行异议之诉被告,9月11日在邵武市人民法院审理
发布时间:2024-9-7 18:32阅读:474
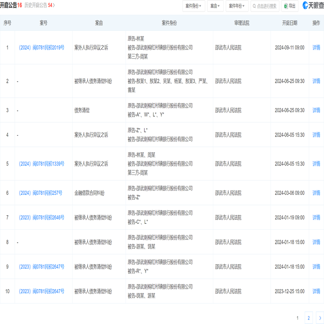
据天眼查法律诉讼信息显示,邵武刺桐红村镇银行股份有限公司(以下简称“邵武刺桐红村镇银行”)因案外人执行异议之诉被告,于2024年9月11日在邵武市人民法院开庭审理【案号:(2024)闽0781民初2019号】。
公开资料显示,邵武刺桐红村镇银行成立于2014年,位于南平市,是一家以从事货币金融服务为主的企业。企业注册资本10600万人民币,实缴资本10600万人民币,法定代表人为庄吓农。
风险方面共发现企业有开庭公告16条,立案信息9条。
温馨提示:投资有风险,选择需谨慎。
-
养虾理财用的金融Skill是什么?国泰海通灵犀Skills实测,新手也能装
2026-05-09 13:41
-
豆包开启付费!AI行业迎来拐点,普通投资者该怎么布局?
2026-05-09 13:41
-
2026国金证券新人开户能够享受哪些福利?(含6888元品质礼包)
2026-05-09 13:41



+微信
分享该文章
